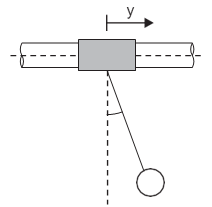
Um cilindro vazado pode deslizar sem atrito num eixo horizontal no qual se apoia. Preso ao cilindro, há um cabo de 40 cm de comprimento tendo uma esfera na ponta, conforme figura. Uma força externa faz com que o cilindro adquira um movimento na horizontal do tipo y = y₀ sen (2π ft).


Qual deve ser o valor de f em hertz para que seja máxima a amplitude das oscilações da esfera?